Première guitare : The Pulse, premiers cris de la belle

Pour que chacun puisse montrer ses oeuvres en cours, et poser les questions relatives à son projet.
UNIQUEMENT les projets commencés

Modérateurs : FAQueurs, BRAB

Avatar du membre
Headbanging Niko
Se lève la nuit pour poster
Messages : 605
Enregistré le : mar. 3 oct. 2006 07:06
Nombre de guitares fabriquées : 0
Localisation : Tours

Re: Première guitare : The Pulse

Message par Headbanging Niko »

Après 24h de séchage, un coup de racloir et de papier abrasif, voila le résultat :

Image

Je dois dire que je suis assez fier de ce collage, qui est de loin le plus réussi jusqu'à maintenant sur ma guitare (ça tombe bien, c'est celui qu'on verra le plus !!)
Je pense que ça commence à venir le maniement du rabot :D
qovop
1er projet -> "The Pulse"
Avatar du membre
Headbanging Niko
Se lève la nuit pour poster
Messages : 605
Enregistré le : mar. 3 oct. 2006 07:06
Nombre de guitares fabriquées : 0
Localisation : Tours

Re: Première guitare : The Pulse

Message par Headbanging Niko »

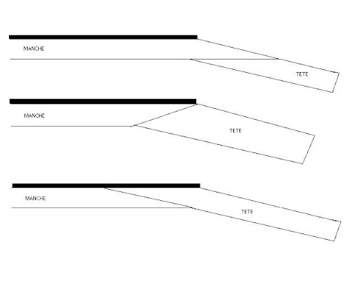
Petit travail d'aujourd'hui : découpe du manche à 13°.
Alors déjà je dois dire que je me suis bien pris la tête pour comprendre quel morceau couper et dans quel sens ! Et oui car il y a apparement (comment ça tout le monde est au courant sauf moi? :shock: ) plusieurs façons de faire.

Image

Je ne sais pas si le sujet à déjà été traité, mais en tout cas j'ai bien galleré :mrgreen:

J'ai choisis le montage N°3 car il présente l'avantage de pouvoir rapporter une tete plus large que le manche en un seul morceau contrairement au montage N°1. (j'avais pas envie de coller des oreilles à la tete)
De plus il me semble (mais c'est purement intuitif) qu'il est plus solide que le montage N°2 car la tete est prise en sandwich entre le manche et la touche.
Pour finir, c'est ce montage là qui est utilisé sur mon ibanez donc j'imagine que c'est un truc qui est valable.

L'inconvénient c'est que le multipli du manche s'arrête plus tot.

Enfin bref, tout ça pour dire qu'il vaut mieux faire un plan trèèèès détailler de sa gratte avant, et surtout un plan de profil (je l'avais pas fait celui là, j'avais pris celui d'une autre LP mais le manche était en une seule pièce) :?

Voila donc la découpe
Image

Faut que je fignole encore un peu mais c'est presque bon. (sur la droite ça a l'air bancal mais c'est en fait les épaisseurs de bois qui sont différentes pour les 3 plis et qui ne sont pas parfaitement dégauchis de ce coté là)
Modifié en dernier par Headbanging Niko le dim. 12 avr. 2009 17:25, modifié 1 fois.
qovop
1er projet -> "The Pulse"
guyzard
FAQeur
Messages : 10558
Enregistré le : mar. 12 juin 2007 18:27
Nombre de guitares fabriquées : 2
Localisation : 56

Re: Première guitare : The Pulse

Message par guyzard »

:app: belle découpe...de toutes facons , un multipli, c'est quand-même vachement plus beau ! :P
LeBoGosse
Nouveau
Messages : 1
Enregistré le : ven. 29 févr. 2008 21:01

Re: Première guitare : The Pulse

Message par LeBoGosse »

The Pulse ? c'est quoi ca comme nom de gratte ? c'est un nom de fromage du nord ca plutot non ? T'aurais mieux fais de l'appeller The Prout !

Qu'une chose à te dire: Pouet Pouetpouet ... ?
Avatar du membre
ycon
Jojo je te rattrape !!!
Messages : 2553
Enregistré le : mar. 2 mai 2006 18:59
Localisation : Bouches du Rhône, Var
Contact :

Re: Première guitare : The Pulse

Message par ycon »

LeBoGosse a écrit :The Pulse ? c'est quoi ca comme nom de gratte ? c'est un nom de fromage du nord ca plutot non ? T'aurais mieux fais de l'appeller The Prout !

Qu'une chose à te dire: Pouet Pouetpouet ... ?
euh :roll: (vous le brabiserai pas celui là :evil: )

sinon c'est une beau collage :wink:
Avatar du membre
Gaelle
LA Woman
Messages : 12070
Enregistré le : mer. 6 avr. 2005 12:52
Nombre de guitares fabriquées : 10
Facebook : https://www.facebook.com/profile.php?id=1000131595
Localisation : OLARGUES
Contact :

Re: Première guitare : The Pulse

Message par Gaelle »

LeBoGosse a écrit :The Pulse ? c'est quoi ca comme nom de gratte ? c'est un nom de fromage du nord ca plutot non ? T'aurais mieux fais de l'appeller The Prout !

Qu'une chose à te dire: Pouet Pouetpouet ... ?

oh un troll! :shock: ça fait plaisir d'en voir un depuis le temps qu'ils étaient pas descendu de la montagne, manque de bol mon gars tu es tombé sur un forum sérieux, tu vas pas dépasser le stade des 10 posts à mon avis (et je suis généreux)...
Jybec tu t'en occupe?
Image
Mon site
Ce n'est pas parce que c'est difficile qu'on ose pas, mais parce qu'on ose pas que c'est difficile!
Il ne faut jamais choisir la solution de facilité, c'est toujours la mauvaise.
Avatar du membre
Headbanging Niko
Se lève la nuit pour poster
Messages : 605
Enregistré le : mar. 3 oct. 2006 07:06
Nombre de guitares fabriquées : 0
Localisation : Tours

Re: Première guitare : The Pulse

Message par Headbanging Niko »

Non c'est bon les gars, pas besoin de sortir le brou de noix, c'est un pote à moi (pas très fin, certes... :wink: )
(enfin si il insiste, vous pourrez toujours le télétubiser :mrgreen: )
qovop
1er projet -> "The Pulse"
Avatar du membre
Pedro
Gloire à l'ancien Grand Admin
Messages : 16437
Enregistré le : dim. 3 oct. 2004 01:19
Nombre de guitares fabriquées : 0

Re: Première guitare : The Pulse

Message par Pedro »

Je me disais bien que ça sentait la private joke. Pas assez subtil pour un vrai troll.
Avatar du membre
Gaelle
LA Woman
Messages : 12070
Enregistré le : mer. 6 avr. 2005 12:52
Nombre de guitares fabriquées : 10
Facebook : https://www.facebook.com/profile.php?id=1000131595
Localisation : OLARGUES
Contact :

Re: Première guitare : The Pulse

Message par Gaelle »

ooohhh :(

moi qui croyais qu'on allait rigoler un peu...
Image
Mon site
Ce n'est pas parce que c'est difficile qu'on ose pas, mais parce qu'on ose pas que c'est difficile!
Il ne faut jamais choisir la solution de facilité, c'est toujours la mauvaise.
Avatar du membre
caribou
Posterus simplex
Messages : 17592
Enregistré le : jeu. 26 août 2004 13:44
Nombre de guitares fabriquées : 0
Facebook : https://www.facebook.com/FranckCherubinLuthier/
Localisation : Finistere Sud
Contact :

Re: Première guitare : The Pulse

Message par caribou »

san pedro a écrit :Je me disais bien que ça sentait la private joke. Pas assez subtil pour un vrai troll.
Je connais des gens (des ados hein...) dont un des jeux consiste à s'inscrire sur des forums et à faire le concours de celui que se fera virer le plus rapidement possible.


J'avoue que j'ai été tenté de jouer à ça moi aussi sur G.com
teuteuguy
A déjà posté
Messages : 4
Enregistré le : ven. 29 févr. 2008 21:34

Re: Première guitare : The Pulse

Message par teuteuguy »

aller aller, je reprends un peu de serieux ...

pas drole si avec un pseudo à la con, et une joke à 2 balles je me fais griller des mon premier post !!!

Bon en tout cas, ca dechire cette gratte. Bravo !!

Continue à nous faire des belles photos ....

Teu mec !!!

Tim

P.S: The Prout ... ca pete plus que The Pulse .... (ca pete ... arf arf ... et je continue sur les jokes à 2 balles !)
Avatar du membre
Noodles
Le sevrage sera dur !!
Messages : 1145
Enregistré le : mer. 3 oct. 2007 14:12
Nombre de guitares fabriquées : 2
Localisation : Brest

Re: Première guitare : The Pulse

Message par Noodles »

Et tu as l'intention de créer 1 compte par post? :lol:
Attention, la culture nuit gravement à la connerie.
Kapouéééé
Avatar du membre
blaireau
Citoyen d'honneur de Ehlapointcom
Messages : 11268
Enregistré le : lun. 14 août 2006 14:26
Nombre de guitares fabriquées : 2
Localisation : MULHOUSE

Re: Première guitare : The Pulse

Message par blaireau »

Bon, bienvenue à tous les deux "Hekel et Jekel" (j'ai cherché la paire connue dont l'humour me semblait le plus approchant :cry: ), donc je vais vous envoyer (mais une seule fois) le MP d'accueil du forum, il est très explicite sur notre mode de fonctionnement, donc le lire à fond est nécessaire :wink:
Ex chef de la B.R.A.B. (Brigade des Raclées Amicales de Bienvenue)

Ne pas consulter la FAQ peut nuire gravement à la santé
Avatar du membre
Headbanging Niko
Se lève la nuit pour poster
Messages : 605
Enregistré le : mar. 3 oct. 2006 07:06
Nombre de guitares fabriquées : 0
Localisation : Tours

Re: Première guitare : The Pulse

Message par Headbanging Niko »

Hier j'ai collé le tete, ça a été l'horreur. Ca glisse énormément, j'ai lutté pour mettre quelques pointes car l'ensemble plein de colle qui glisse n'est pas le meilleur support pour planter un clou !

Enfin bref j'ai réussi quand meme, c'est un tout petit peu de travers, mais rien de grave car j'avais pris de la marge sur les dimensions de la tete.

Image

Ensuite j'ai commencé à retirer le coin qui est de trop sur le dessus. Et là, horreur :pac:

J'ai raboté un peu trop !! Voyez le désastre :

Image

A l'extrémité de la touche, il manque 1mm de bois en dessous.
Après avoir juré de tous les noms, j'ai réfléchis à comment rattraper le truc.
1- Faire le collage comme ça (si j'appuie sur la touche, elle suit le profil du manche) et vu que ça sera seulement sur la première case, ça ne devrait pas avoir d'influence sur la justesse.
2- Faire le collage comme ça sans appuyer en remplissant l'interstice avec la colle à bois.
3-Rajouter une lamelle de bois (mais bon faire un coin de 1mm ça va etre l'enfer!)
4-Recoller un gros morceau et reraboter

Je précise qu'il y aura un binding donc ça se verra pas sur le coté du manche. Y'a que à l'arrière du sillet qu'on pourra voir l'erreur.

J'attends vos conseils salvateurs! Je suis trop dégouté :cry: :oops:
qovop
1er projet -> "The Pulse"
Avatar du membre
beberto
Se lève la nuit pour poster
Messages : 795
Enregistré le : lun. 2 janv. 2006 16:50
Nombre de guitares fabriquées : 12
Localisation : La Roche/Yon
Contact :

Re: Première guitare : The Pulse

Message par beberto »

ton manche il fait combien d'épaisseur?? si tu à de la marge tu peu surfacer à nouveau tout le long du manche au rabot ou à la défonceuse (moi je fais ça à la défonceuse car je suis faignant c'est plus rapide).

ça dépend aussi de la longueur de ton bloc de tête : à ce stade si tu as encore assez de longueur il n'y a pas problème. sinon je vois pas la nécessité de rapporter un morceau de bois.

baisse pas les bras je pense que c'est loin d'être raté...
Avatar du membre
Headbanging Niko
Se lève la nuit pour poster
Messages : 605
Enregistré le : mar. 3 oct. 2006 07:06
Nombre de guitares fabriquées : 0
Localisation : Tours

Re: Première guitare : The Pulse

Message par Headbanging Niko »

Pour le manche j'ai très peu de marge (environ 3mm). Pour l'instant il fait 23mm et je compte faire un talon de 20mm (copié sur ma Hamer). Donc c'est chaud pour faire la mise à niveau.
Ou alors je tente la mise à niveau en biais, c'est à dire que je pars du bout ou il manque 1mm et j'arrive à l'autre bout sans profondeur. Mais là au niveau installation ça va etre digne de MacGyver !

Je sais que c'est pas la fin du monde, mais ça fout un coup au moral !
Pour la peine je vais chez le coiffeur tiens ! :mrgreen:
qovop
1er projet -> "The Pulse"
Avatar du membre
beberto
Se lève la nuit pour poster
Messages : 795
Enregistré le : lun. 2 janv. 2006 16:50
Nombre de guitares fabriquées : 12
Localisation : La Roche/Yon
Contact :

Re: Première guitare : The Pulse

Message par beberto »

Ou alors je tente la mise à niveau en biais, c'est à dire que je pars du bout ou il manque 1mm et j'arrive à l'autre bout sans profondeur
oui ton idée me semble bonne... et puis 3mm de marge c'est 3 mm de marge quoi! profites-en de cette marge elle est là pour ça aussi selon moi 8) rattraper les boulettes. franchement je comprends que ça te foute les boules mais ton manche est pas encore à la poubelle et on est pas des machines ni des pros donc faut pas se prendre trop les cheveux (
Pour la peine je vais chez le coiffeur tiens ! :mrgreen:
cheveux-coiffeur héhé :cnul:)
Mais là au niveau installation ça va etre digne de MacGyver
je crois pas si tu fixe le manche avec la tête et le talon dans le vide et que de chaque côté tu place deux rails plus hauts que le manche hop c'est dans la poche. par contre il faut que le dessous de manche soit aussi bien surfacé. Ou alors tu fixe ton manche entre les planches de ton établi-étau si les côtés du manche sont bien d'équerre. pas évident d'expliquer ça sans image mais bon...

enfin y a vraiment moyen! :D
Avatar du membre
Beren
Mais tais-toi !!!
Messages : 8285
Enregistré le : mer. 14 déc. 2005 11:47
Nombre de guitares fabriquées : 4
Localisation : PACA
Contact :

Re: Première guitare : The Pulse

Message par Beren »

oui, c'est rien ca... 100% d'accord avec Beberto!
resurface l'intégralité de ton manche.
Si tu te rends compte que l'épaisseur est trop juste après cette opération, tu pourras recoller des épaisseur de placage , ainsi, cela te fera un joli filet sur la tranche du manche et tu retrouveras une épaisseur correcte!
"ça rentre tout seul, pas besoin d'appuyer, faut la laisser faire, juste la balader "
blaireau : 02 Sep 10, 18:46
Avatar du membre
beberto
Se lève la nuit pour poster
Messages : 795
Enregistré le : lun. 2 janv. 2006 16:50
Nombre de guitares fabriquées : 12
Localisation : La Roche/Yon
Contact :

Re: Première guitare : The Pulse

Message par beberto »

yaisse super idée ça les plaquages!! je fais ça à chaque fois, ça demande aucune technique juste une presse et le résultat est toujours très sympa d'un point de vue look... :app:
Avatar du membre
Headbanging Niko
Se lève la nuit pour poster
Messages : 605
Enregistré le : mar. 3 oct. 2006 07:06
Nombre de guitares fabriquées : 0
Localisation : Tours

Re: Première guitare : The Pulse

Message par Headbanging Niko »

Ok merci les coupaing :)

Je vais essayer ça cet après midi et je vous tiens au jus !
qovop
1er projet -> "The Pulse"
Répondre